Высококачественный насос ZEN Вертикальный турбинный пожарный насос XBD с длинным валом состоит из нескольких центробежных рабочих колес, направляющих кожухов, водопроводных труб, трансмиссионных валов, двигателей основания насоса и других компонентов. Основание насоса и двигатель расположены над бассейном, а мощность двигателя передается на вал рабочего колеса через трансмиссионный вал, концентричный водопроводной трубе, создавая тем самым поток и давление.
Pompa ZEN Berkualitas Tinggi XBD Pompa Pemadam Kebakaran Turbin Vertikal Poros Panjang terdiri dari tiga bagian: bagian kerja, bagian air, dan bagian permukaan.
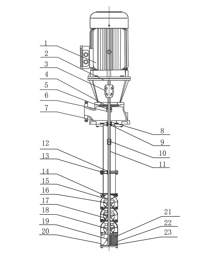
1. Bagian kerja
Bagian ini terdiri dari bagian kerja dan bagian filter air. Bagian kerja terdiri dari guide casing, impeller, tapered bushing, plain bearing, poros impeller dan bagian lainnya. Impeler adalah struktur tertutup. Selongsongnya dihubungkan dengan baut. Cincin kompensasi dapat dipasang pada selubung pemandu dan impeler.
2. Водопроводная часть
Эта часть состоит из водопроводных труб, приводных валов, муфт и кронштейнов. Водопроводная труба соединена фланцем, а вал трансмиссии изготовлен из стали 2Cr13 или нержавеющей стали.
3. Bagian permukaan
Состоит из компонентов основания насоса, двигателя, кронштейна двигателя, муфты и других компонентов.
Модель Вертикальный турбинный пожарный насос XBD с длинным валом в основном используется для пожаротушения с помощью пожарных гидрантов, автоматического спринклерного пожаротушения и других систем пожаротушения на промышленных и горнодобывающих предприятиях, в инженерном строительстве, высотных зданиях, а также в коммунальном водоснабжении и водоотведении и т. д.
1. Biasanya, air bersih dan tidak agresif.
2. Содержание твердых веществ в воде (по массе) не более 0,01%.
3. Значение pH в диапазоне 6,5–8,5.
4. Содержание сероводорода не более 1,5 мг/л.
5. Температура воды не должна превышать 40°C.
РАСХОД: 5–110 (л/с)
НАПОР: 32–200 (м)
DAYA: 3–200 (kW)
RPM belaian: 3000 RPM.
Pompa kebakaran turbin terdiri dari tiga bagian: bagian kerja, bagian air dan bagian permukaan.
1. Bagian kerja
Эта часть состоит из рабочих частей и частей водяного фильтра. Рабочие части состоят из направляющего кожуха, рабочего колеса, конической втулки, подшипника скольжения, вала рабочего колеса и других деталей. Рабочее колесо представляет собой замкнутую конструкцию. Кожухи соединены болтами. На направляющем кожухе и рабочем колесе могут быть установлены компенсационные кольца.
2. Водопроводная часть
Bagian ini terdiri dari pipa air, poros penggerak, kopling dan bagian braket.
Bagian penyedia air dihubungkan dengan flensa, dan bahan poros transmisi adalah 2Cr13 atau baja tahan karat.
3. Bagian permukaan
Эта часть состоит из компонентов основания насоса, двигателя, кронштейна двигателя, муфты и других деталей.
1. Biasanya, air bersih dan tidak agresif.
2. Содержание твердых веществ в воде (по массе) – не более 0,01%.
3. Значение pH – в пределах 6,5–8,5.
4. Kandungan hidrogen sulfida – tidak lebih dari 1,5 mg/l.
5. Температура воды не должна превышать 40°С.
|
№ |
ELEMEN | Материал |
| 1 | двигателя | СБОРОЧНЫЙ УЗЕЛ |
| 2 | Pemasangan mesin | QT400-18 |
| 3 | kopel | ZG235-150 |
| 4 | Крышка уплотнения | QT100-18 |
| 5 | Segel mekanis | KARBON-SIC-NBR |
| 6 | Держатель уплотнения | ZG235-450 |
| 7 | Pipa keluar | QT400-18 |
| 8 | Pipa keluar | QT400-18 |
| 9 | Poros pendukung | KAPAS NIRON |
| 10 | kopel | ZG235-150 |
| 11 | Вал | 20CR13 |
| 12 | Опорный подшипник | KAPAS NIRON |
| 13 | mengurung | QT100-18 |
| 14 | Верхняя чаша | QT100-18 |
| 15 | Bantalan mangkuk | KARET |
| 16 | Secangkir | 20CR13 |
| 17 | pendorong |
06CR19N110 |
| 18 | Средняя чаша | QT400-18 |
| 19 | Подшипник | KARET |
| 20 | Lonceng hisap | QT100-18 |
| 21 | Фильтр | O6CR19NI10 |
| 22 | Cakram dorong | 20CR13 |
| 23 | Pelat dorong depan | СМЕСЬ ТЕФЛОНА |
| Nomor | Jenis | Aliran nominal (L/S) |
Upaya (M) |
Kekuatan (kW) |
Kecepatan (putaran/menit) |
Kaliber (mm) |
Tekanan kerja maksimum (≤Mpa) |
150% dari tekanan aliran nominal (≥Mpa) |
| 1 | XBD4.0/1WJ-SEAD | 1 | 40 | 3 | 3000 | 50 | 0.560 | 0.260 |
| 2 | XBD5.0/1WJ-SEAD | 1 | 50 | 4 | 3000 | 50 | 0.700 | 0.325 |
| 3 | XBD6.0/1WJ-SEAD | 1 | 60 | 4 | 3000 | 50 | 0.840 | 0.390 |
| 4 | XBD7.0/1WJ-SEAD | 1 | 70 | 5.5 | 3000 | 50 | 0.980 | 0.455 |
| 5 | XBD8.0/1WJ-SEAD | 1 | 80 | 7.5 | 3000 | 50 | 1.120 | 0.520 |
| 6 | XBD9.0/1WJ-SEAD | 1 | 90 | 7.5 | 3000 | 50 | 1.260 | 0.585 |
| 7 | PERANGKAT XBD10.0/1WJ | 1 | 100 | 11 | 3000 | 50 | 1.400 | 0.650 |
| 8 | PERANGKAT XBD11.0/1WJ | 1 | 110 | 11 | 3000 | 50 | 1.540 | 0.715 |
| 9 | XBD12.0/1WJ-SEAD | 1 | 120 | 11 | 3000 | 50 | 1.680 | 0.780 |
| 10 | XBD13.0/1WJ-SEAD | 1 | 130 | 11 | 3000 | 50 | 1.820 | 0.815 |
| 11 | XBD14.0/1WJ-SEAD | 1 | 140 | 15 | 3000 | 50 | 1.960 | 0.910 |
| 12 | XBD15.0/1WJ-SEAD | 1 | 150 | 15 | 3000 | 50 | 2.100 | 0.975 |
| 13 | XBD16.0/1WJ-SEAD | 1 | 160 | 15 | 3000 | 50 | 2.240 | 1.040 |
| 14 | XBD16.8.0/1WJ-SEAD | 1 | 168 | 3 | 3000 | 50 | 2.352 | 1.092 |
| 15 | XBD4.0/3WJ-SEAD | 3 | 40 | 4 | 3000 | 50 | 0.560 | 0.260 |
| 16 | XBD5.0/3WJ-SEAD | 3 | 50 | 5.5 | 3000 | 50 | 0.700 | 0.325 |
| 17 | PERANGKAT XBD6.0/3WJ | 3 | 60 | 7.5 | 3000 | 50 | 0.840 | 0.390 |
| 18 | XBD7.0/3WJ-SEAD | 3 | 70 | 7.5 | 3000 | 50 | 0.980 | 0.455 |
| 19 | PERANGKAT XBD8.0/3WJ | 3 | 80 | 7.5 | 3000 | 50 | 1.120 | 0.520 |
| 20 | XBD9.0/3WJ-SEAD | 3 | 90 | 7.5 | 3000 | 50 | 1.260 | 0.585 |
| 21 | PERANGKAT XBD10.0/3WJ | 3 | 100 | 11 | 3000 | 50 | 1.400 | 0.650 |
| 22 | XBD11.0/3WJ-SEAD | 3 | 110 | 11 | 3000 | 50 | 1.540 | 0.715 |
| 23 | XBD12.0/3WJ-SEAD | 3 | 120 | 11 | 3000 | 50 | 1.680 | 0.780 |
| 24 | XBD13.0/3WJ-SEAD | 3 | 130 | 11 | 3000 | 50 | 1.820 | 0.815 |
| 25 | PERANGKAT XBD14.0/3WJ | 3 | 140 | 15 | 3000 | 50 | 1.960 | 0.90 |
| 26 | XBD15.0/3WJ-SEAD | 3 | 150 | 15 | 3000 | 50 | 2.100 | 0.975 |
| 27 | XBD16.0/3WJ-SEAD | 3 | 160 | 15 | 3000 | 50 | 2.240 | 1.040 |
| 28 | XBD16.8/3WJ-SEAD | 3 | 168 | 15 | 3000 | 50 | 2.352 | 1.092 |
| 29 | XBD4.0/5WJ-SEAD | 5 | 40 | 4 | 3000 | 50 | 0.560 | 0.260 |
| 30 | XBD5.0/5WJ-SEAD | 5 | 50 | 5.5 | 3000 | 50 | 0.700 | 0.325 |
| 31 | XBD6.0/5WJ-SEAD | 5 | 60 | 7.5 | 3000 | 50 | 0.840 | 0.390 |
| 32 | XBD7.0/5WJ-LAUT | 5 | 70 | 7.5 | 3000 | 50 | 0.980 | 0.455 |
| 33 | PERANGKAT XBD8.0/5WJ | 5 | 80 | 11 | 3000 | 50 | 1.120 | 0.520 |
| 34 | PERANGKAT XBD9.0/5WJ | 5 | 90 | 11 | 3000 | 50 | 1.260 | 0.585 |
| 35 | XBD10.0/5WJ-SEAD | 5 | 100 | 11 | 3000 | 50 | 1.400 | 0.650 |
| 36 | XBD11.0/5WJ-SEAD | 5 | 110 | 15 | 3000 | 50 | 1.540 | 0.780 |
| 37 | XBD12.0/5WJ-SEAD | 5 | 120 | 15 | 3000 | 50 | 1.680 | 0.845 |
| Nomor | Jenis | Aliran nominal (L/S) |
Upaya (M) |
Kekuatan (kW) |
Kecepatan (putaran/menit) |
Kaliber (mm) |
Tekanan kerja maksimum (≤Mpa) |
150% dari tekanan aliran nominal (≥Mpa) |
| 38 | XBD13.0/5WJ-SEAD | 5 | 130 | 15 | 3000 | 50 | 1.820 | 0.845 |
| 39 | XBD14.0/5WJ-SEAD | 5 | 140 | 15 | 3000 | 50 | 1.960 | 0.910 |
| 40 | XBD15.0/5WJ-SEAD | 5 | 150 | 18.5 | 3000 | 50 | 2.100 | 0.975 |
| 41 | XBD16.0/5WJ-SEAD | 5 | 160 | 18.5 | 3000 | 50 | 2.240 | 1.040 |
| 42 | XBD16.8/5WJ-LAUT | 5 | 168 | 30 | 3000 | 50 | 2.352 | 1.092 |
| 43 | XBD3.3/5GJ-SEAD | 5 | 33 | 3 | 3000 | 50 | 0.462 | 0.215 |
| 44 | PERANGKAT XBD4.0/5GJ | 5 | 40 | 4 | 3000 | 50 | 0.560 | 0.260 |
| 45 | XBD6.0/5GJ-SEAD | 5 | 60 | 5.5 | 3000 | 50 | 0.840 | 0.390 |
| 46 | XBD8.0/5GJ-SEAD | 5 | 80 | 7.5 | 3000 | 50 | 1.120 | 0.520 |
| 47 | XBD10.0/5GJ-SEAD | 5 | 100 | 11 | 3000 | 50 | 1.400 | 0.650 |
| 48 | PERANGKAT XBD12.0/5GJ | 5 | 120 | 15 | 3000 | 50 | 1.680 | 0.780 |
| 49 | PERANGKAT XBD14.0/5GJ | 5 | 140 | 15 | 3000 | 50 | 1.960 | 0.910 |
| 50 | PERANGKAT XBD16.3/5GJ | 5 | 163 | 18.5 | 3000 | 50 | 2.282 | 1.060 |
| 51 | XBD3.2/10GJ-LAUT | 10 | 32 | 5.5 | 3000 | 80 | 0.448 | 0.208 |
| 52 | XBD4.2/10GJ-LAUT | 10 | 42 | 7.5 | 3000 | 80 | 0.588 | 0.273 |
| 53 | XBD5.0/10GJ-SEAD | 10 | 50 | 11 | 3000 | 80 | 0.700 | 0.325 |
| 54 | XBD6.0/10GJ-LAUT | 10 | 60 | 15 | 3000 | 80 | 0.840 | 0.390 |
| 55 | XBD8.4/10GJ-SEAD | 10 | 84 | 15 | 3000 | 80 | 1.176 | 0.546 |
| 56 | XBD9.6/10GJ-LAUT | 10 | 96 | 18.5 | 3000 | 80 | 1.344 | 0.624 |
| 57 | PERANGKAT XBD10.0/10GJ | 10 | 100 | 18.5 | 3000 | 80 | 1.400 | 0.650 |
| 58 | XBD11.0/10GJ-LAUT | 10 | 110 | 18.5 | 3000 | 80 | 1.540 | 0.715 |
| 59 | XBD12.0/10GJ-LAUT | 10 | 120 | 22 | 3000 | 80 | 1.680 | 0.780 |
| 60 | XBD13.0/10GJ-LAUT | 10 | 130 | 22 | 3000 | 80 | 1.820 | 0.845 |
| 61 | XBD14.4/10GJ-SEAD | 10 | 144 | 30 | 3000 | 80 | 2.016 | 0.936 |
| 62 | XBD15.6/10GJ-SEAD | 10 | 156 | 30 | 3000 | 80 | 2.184 | 1.014 |
| 63 | XBD17.0/10GJ-LAUT | 10 | 170 | 37 | 3000 | 80 | 2.380 | 1.105 |
| 64 | XBD18.0/10GJ-LAUT | 10 | 180 | 37 | 3000 | 80 | 2.520 | 1.170 |
| 65 | XBD3.6/15GJ-SEAD | 15 | 36 | 11 | 3000 | 80 | 0.501 | 0.231 |
| 66 | XBD4.0/15GJ-SEAD | 15 | 40 | 11 | 3000 | 80 | 0.560 | 0.260 |
| 67 | XBD5.0/15GJ-LAUT | 15 | 50 | 15 | 3000 | 80 | 0.700 | 0.325 |
| 68 | XBD6.0/15GJ-LAUT | 15 | 60 | 15 | 3000 | 80 | 0.840 | 0.390 |
| 69 | XBD7.2/15GJ-SEAD | 15 | 72 | 18.5 | 3000 | 80 | 1.008 | 0.325 |
| 70 | PERANGKAT XBD8.4/15GJ | 15 | 84 | 22 | 3000 | 80 | 1.176 | 0.468 |
| 71 | XBD9.6/15GJ-SEAD | 15 | 96 | 22 | 3000 | 80 | 1.344 | 0.546 |
| 72 | XBD10.0/15GJ-SEAD | 15 | 100 | 22 | 3000 | 80 | 1.400 | 0.624 |
| 73 | XBD11.0/15GJ-LAUT | 15 | 110 | 30 | 3000 | 80 | 1540 | 0.650 |
| 74 | XBD12.0/15GJ-LAUT | 15 | 120 | 30 | 3000 | 80 | 1680 | 0.715 |
| Nomor | Jenis | Aliran nominal (L/S) |
Upaya (M) |
Kekuatan (kW) |
Kecepatan (putaran/menit) |
Kaliber (mm) |
Tekanan kerja maksimum (≤Mpa) |
150% dari tekanan aliran nominal (≥Mpa) |
| 75 | XBD13.0/15GJ-SEAD | 15 | 130 | 37 | 3000 | 80 | 1.820 | 0.845 |
| 76 | PERANGKAT XBD14.0/15GJ | 15 | 140 | 37 | 3000 | 80 | 1.960 | 0.910 |
| 77 | XBD15.6/15GJ-SEAD | 15 | 156 | 37 | 3000 | 80 | 2.184 | 1.014 |
| 78 | XBD17.0/15GJ-SEAD | 15 | 170 | 45 | 3000 | 80 | 2.380 | 1.105 |
| 79 | XBD18.2./15GJ-SEAD | 15 | 182 | 45 | 3000 | 80 | 2.518 | 1.183 |
| 80 | PERANGKAT XBD20.0/15GJ | 15 | 200 | 55 | 3000 | 80 | 2.800 | 1.300 |
| 81 | XBD3.3/20GJ-LAUT | 20 | 33 | 11 | 3000 | 100 | 0.462 | 0.215 |
| 82 | PERANGKAT XBD4.0/20GJ | 20 | 40 | 15 | 3000 | 100 | 0.580 | 0.260 |
| 83 | PERANGKAT XBD4.4/20GJ | 20 | 44 | 15 | 3000 | 100 | 0.616 | 0.286 |
| 84 | XBD5.0/20GJ-SEAD | 20 | 50 | 18.5 | 3000 | 100 | 0.700 | 0.325 |
| 85 | PERANGKAT XBD5.5/20GJ | 20 | 55 | 18.5 | 3000 | 100 | 0.770 | 0.358 |
| 86 | PERANGKAT XBD6.0/20GJ | 20 | 50 | 22 | 3000 | 100 | 0.700 | 0.325 |
| 87 | PERANGKAT XBD6.6/20GJ | 20 | 66 | 22 | 3000 | 100 | 0.924 | 0.429 |
| 88 | PERANGKAT XBD7.0/20GJ | 20 | 70 | 30 | 3000 | 100 | 0.980 | 0.455 |
| 89 | PERANGKAT XBD8.0/20GJ | 20 | 80 | 30 | 3000 | 100 | 1.120 | 0.520 |
| 90 | XBD9.0/20GJ-SEAD | 20 | 90 | 30 | 3000 | 100 | 1.260 | 0.585 |
| 91 | XBD10.0/20GJ-SEAD | 20 | 100 | 37 | 3000 | 100 | 1.400 | 0.650 |
| 92 | PERANGKAT XBD11.0/20GJ | 20 | 110 | 37 | 3000 | 100 | 1.540 | 0.75 |
| 93 | PERANGKAT XBD12.1/20GJ | 20 | 121 | 45 | 3000 | 100 | 1.694 | 0.787 |
| 94 | XBD14.0/20GJ-SEAD | 20 | 140 | 45 | 3000 | 100 | 1.960 | 0.910 |
| 95 | PERANGKAT XBD16.0/20GJ | 20 | 160 | 55 | 3000 | 100 | 2.240 | 1.040 |
| 96 | XBD18.0/20GJ-SEAD | 20 | 180 | 55 | 3000 | 100 | 2.520 | 1.170 |
| 97 | XBD20.0/20GJ-SEAD | 20 | 200 | 75 | 3000 | 100 | 2.800 | 1.300 |
| 98 | XBD3.2/25GJ-SEAD | 25 | 32 | 11 | 3000 | 100 | 0.448 | 0.208 |
| 99 | XBD4.2/25GJ-SEAD | 25 | 42 | 15 | 3000 | 100 | 0.588 | 0.273 |
| 100 | XBD5.3/25GJ-LAUT | 25 | 53 | 18.5 | 3000 | 100 | 0.742 | 0.345 |
| 101 | XBD6.3/25GJ-SEAD | 25 | 63 | 22 | 3000 | 100 | 0.882 | 0.410 |
| 102 | XBD7.3/25GJ-LAUT | 25 | 73 | 30 | 3000 | 100 | 1.022 | 0.475 |
| 103 | XBD8.4/25GJ-LAUT | 25 | 84 | 37 | 3000 | 100 | 1.176 | 0.546 |
| 104 | XBD9.0/25GJ-SEAD | 25 | 90 | 37 | 3000 | 100 | 1.260 | 0.585 |
| 105 | XBD10.0/25GJ-SEAD | 25 | 100 | 37 | 3000 | 100 | 1.400 | 0.950 |
| 106 | XBD11.0/25GJ-SEAD | 25 | 110 | 45 | 3000 | 100 | 1.540 | 0.715 |
| 107 | XBD12.0/25GJ-SEAD | 25 | 120 | 45 | 3000 | 100 | 1.680 | 0.780 |
| 108 | XBD14.0/25GJ-SEAD | 25 | 140 | 55 | 3000 | 100 | 1.960 | 0.910 |
| 109 | XBD16.0/25GJ LAUT | 25 | 160 | 75 | 3000 | 100 | 2.240 | 1.040 |
| 110 | XBD18.5/25GJ-LAUT | 25 | 185 | 75 | 3000 | 100 | 2.590 | 1.203 |
| 111 | XBD3.6/30GJ-SEAD | 30 | 36 | 15 | 3000 | 100 | 0.504 | 0.234 |
| Nomor | Jenis | Aliran nominal (L/S) |
Upaya (M) |
Kekuatan (kW) |
Kecepatan (putaran/menit) |
Kaliber (mm) |
Tekanan kerja maksimum (≤Mpa) |
150% dari tekanan aliran nominal (≥Mpa) |
| 112 | XBD4.2/30GJ-SEAD | 30 | 40 | 18.5 | 3000 | 100 | 0.560 | 0.260 |
| 113 | PERANGKAT XBD5.0/30GJ | 30 | 50 | 22 | 3000 | 100 | 0.700 | 0.325 |
| 114 | XBD6.0/30GJ-SEAD | 30 | 60 | 30 | 3000 | 100 | 0.840 | 0.390 |
| 115 | XBD7.2/30GJ-CHAAD | 30 | 72 | 30 | 3000 | 100 | 1.008 | 0.468 |
| 116 | XBD8.0/30GJ-SEAD | 30 | 80 | 37 | 3000 | 100 | 1.120 | 0.520 |
| 117 | PERANGKAT XBD9.0/30GJ | 30 | 90 | 45 | 3000 | 100 | 1.260 | 0.585 |
| 118 | PERANGKAT XBD10.0/30GJ | 30 | 100 | 45 | 3000 | 100 | 1.400 | 0.650 |
| 119 | PERANGKAT XBD11.0/30GJ | 30 | 110 | 45 | 3000 | 100 | 1.540 | 0.715 |
| 120 | XBD13.0/30GJ-SEAD | 30 | 130 | 55 | 3000 | 100 | 1.820 | 0.845 |
| 121 | XBD14.5/30GJ-SEAD | 30 | 145 | 75 | 3000 | 100 | 2.030 | 0.943 |
| 122 | XBD16.2/30GJ-SEAD | 30 | 162 | 75 | 3000 | 100 | 2.268 | 1.053 |
| 123 | XBD18.0/30GJ-SEAD | 30 | 180 | 90 | 3000 | 100 | 2.520 | 1.170 |
| 124 | PERANGKAT XBD20.0/30GJ | 30 | 200 | 90 | 3000 | 100 | 2.800 | 1.300 |
| 125 | XBD3.2/35GJ-LAUT | 35 | 32 | 18.5 | 3000 | 100 | 0.448 | 0.208 |
| 126 | XBD4.0/35GJ-SEAD | 35 | 40 | 22 | 3000 | 100 | 0.560 | 0.260 |
| 127 | XBD5.0/35GJ-SEAD | 35 | 50 | 30 | 3000 | 100 | 0.700 | 0.325 |
| 128 | XBD6.0/35GJ-LAUT | 35 | 60 | 30 | 3000 | 100 | 0.840 | 0.390 |
| 129 | XBD6.5/35GJ-SEAD | 35 | 65 | 37 | 3000 | 100 | 0.910 | 0.423 |
| 130 | XBD7.0/35GJ-LAUT | 35 | 70 | 37 | 3000 | 100 | 0.980 | 0.455 |
| 131 | PERANGKAT XBD8.0/35GJ | 35 | 80 | 45 | 3000 | 100 | 1.120 | 0.520 |
| 132 | XBD9.0/35GJ-SEAD | 35 | 90 | 55 | 3000 | 100 | 1.260 | 0.585 |
| 133 | XBD10.0/35GJ-SEAD | 35 | 100 | 55 | 3000 | 100 | 1.400 | 0.650 |
| 134 | PERANGKAT XBD11.2/35GJ | 35 | 112 | 75 | 3000 | 100 | 1.568 | 0.728 |
| 135 | XBD13.0/35GJ-LAUT | 35 | 130 | 75 | 3000 | 100 | 1.820 | 0.845 |
| 136 | XBD15.0/35GJ-SEAD | 35 | 150 | 90 | 3000 | 100 | 2.100 | 0.975 |
| 137 | XBD16.0/35GJ-SEAD | 35 | 160 | 90 | 3000 | 100 | 2.240 | 1.040 |
| 138 | XBD18.0/35GJ-SEAD | 35 | 180 | 110 | 3000 | 100 | 2.520 | 1.170 |
| 139 | PERANGKAT XBD19.2/35GJ | 35 | 192 | 110 | 3000 | 100 | 2.688 | 1.248 |
| 140 | PERANGKAT XBD20.0/35GJ | 35 | 200 | 132 | 3000 | 100 | 2.800 | 1.300 |
| 141 | XBD3.2/40GJ-SEAD | 40 | 32 | 22 | 3000 | 150 | 0.448 | 0.208 |
| 142 | PERANGKAT XBD4.0/40GJ | 40 | 40 | 30 | 3000 | 150 | 0.560 | 0.260 |
| 143 | XBD4.8/40GJ-SEAD | 40 | 48 | 30 | 3000 | 150 | 0.672 | 0.312 |
| 144 | PERANGKAT XBD5.0/40GJ | 40 | 50 | 37 | 3000 | 150 | 0.700 | 0.325 |
| 145 | PERANGKAT XBD6.0/40GJ | 40 | 60 | 45 | 3000 | 150 | 0.840 | 0.390 |
| 146 | XBD7.0/40GJ-CHAAD | 40 | 70 | 45 | 3000 | 150 | 0.980 | 0.455 |
| 147 | PERANGKAT XBD8.0/40GJ | 40 | 80 | 55 | 3000 | 150 | 1.120 | 0.520 |
| 148 | XBD9.0/40GJ-SEAD | 40 | 90 | 55 | 3000 | 150 | 1.260 | 0.585 |
| Nomor | Jenis | Aliran nominal (L/S) |
Upaya (M) |
Kekuatan (kW) |
Kecepatan (putaran/menit) |
Kaliber (mm) |
Tekanan kerja maksimum (≤Mpa) |
150% dari tekanan aliran nominal (≥Mpa) |
| 149 | PERANGKAT XBD10.0/40GJ | 40 | 100 | 55 | 3000 | 150 | 1.400 | 0.650 |
| 150 | PERANGKAT XBD11.0/40GJ | 40 | 110 | 75 | 3000 | 150 | 1.540 | 0.715 |
| 151 | XBD12.0/40GJ-SEAD | 40 | 120 | 75 | 3000 | 150 | 1680 | 0.780 |
| 152 | PERANGKAT XBD14.0/40GJ | 40 | 140 | 90 | 3000 | 150 | 1960 | 0.910 |
| 153 | XBD15.0/40GJ-SEAD | 40 | 150 | 90 | 3000 | 150 | 2100 | 0.975 |
| 154 | XBD16.5/40GJ-SEAD | 40 | 165 | 110 | 3000 | 150 | 2310 | 1.073 |
| 155 | PERANGKAT XBD18.5/40GJ | 40 | 180 | 110 | 3000 | 150 | 2520 | 1.170 |
| 156 | PERANGKAT XBD20.0/40GJ | 40 | 200 | 132 | 3000 | 150 | 2800 | 1.300 |
| 157 | XBD3.0/45GJ-SEAD | 45 | 30 | 22 | 3000 | 150 | 0.420 | 0.195 |
| 158 | PERANGKAT XBD4.0/45GJ | 45 | 40 | 30 | 3000 | 150 | 0.560 | 0.260 |
| 159 | PERANGKAT XBD5.0/45GJ | 45 | 50 | 37 | 3000 | 150 | 0.700 | 0.325 |
| 160 | PERANGKAT XBD6.0/45GJ | 45 | 60 | 45 | 3000 | 150 | 0.810 | 0.390 |
| 161 | XBD7.0/45GJ-SEAD | 45 | 70 | 55 | 3000 | 150 | 0.980 | 0.455 |
| 162 | XBD8.0/45GJ-SEAD | 45 | 80 | 55 | 3000 | 150 | 1.120 | 0.520 |
| 163 | XBD9.0/45GJ-SEAD | 45 | 90 | 75 | 3000 | 150 | 1.260 | 0.585 |
| 164 | PERANGKAT XBD10.0/45GJ | 45 | 100 | 75 | 3000 | 150 | 1.400 | 0.650 |
| 165 | XBD3.2/50GJ-SEAD | 50 | 32 | 22 | 3000 | 150 | 0.448 | 0.208 |
| 166 | XBD4.0/50GJ-LAUT | 50 | 40 | 30 | 3000 | 150 | 0.560 | 0.260 |
| 167 | XBD4.5/50GJ-LAUT | 50 | 45 | 37 | 3000 | 150 | 0.630 | 0.293 |
| 168 | XBD5.0/50GJ-SEAD | 50 | 50 | 37 | 3000 | 150 | 0.700 | 0.325 |
| 169 | XBD6.0/50GJ-SEAD | 50 | 60 | 45 | 3000 | 150 | 0.840 | 0.390 |
| 170 | XBD7.0/50GJ-SEAD | 50 | 70 | 55 | 3000 | 150 | 0.980 | 0.455 |
| 171 | XBD8.0/50GJ-SEAD | 50 | 80 | 55 | 3000 | 150 | 1.120 | 0.520 |
| 172 | XBD9.0/50GJ-SEAD | 50 | 90 | 75 | 3000 | 150 | 1.260 | 0.585 |
| 173 | XBD10.5/50GJ-SEAD | 50 | 105 | 75 | 3000 | 150 | 1.470 | 0.683 |
| 174 | XBD12.0/50GJ-SEAD | 50 | 120 | 90 | 3000 | 150 | 1.680 | 0.780 |
| 175 | PERANGKAT XBD14.0/50GJ | 50 | 140 | 110 | 3000 | 150 | 1.960 | 0.910 |
| 176 | XBD15.0/50GJ-CHAAD | 50 | 150 | 132 | 3000 | 150 | 2.100 | 0.975 |
| 177 | XBD17.0/50GJ-SEAD | 50 | 170 | 160 | 3000 | 150 | 2.380 | 1.105 |
| 178 | XBD18.0/50GJ-LAUT | 50 | 180 | 160 | 3000 | 150 | 2.520 | 1.170 |
| 179 | PERANGKAT XBD20.0/50GJ | 50 | 200 | 200 | 3000 | 150 | 2.800 | 1.300 |
| 180 | XBD4.0/55GJ-SEAD | 55 | 40 | 37 | 3000 | 150 | 0.560 | 0.260 |
| 181 | XBD5.0/55GJ-SEAD | 55 | 50 | 45 | 3000 | 150 | 0.700 | 0.325 |
| 182 | XBD6.0/55GJ-SEAD | 55 | 60 | 55 | 3000 | 150 | 0.840 | 0.390 |
| 183 | XBD7.0/55GJ-SEAD | 55 | 70 | 55 | 3000 | 150 | 0.980 | 0.455 |
| 184 | PERANGKAT XBD8.0/55GJ | 55 | 80 | 75 | 3000 | 150 | 1.120 | 0.520 |
| 185 | XBD10.0/55GJ-SEAD | 55 | 100 | 90 | 3000 | 150 | 1.400 | 0.650 |
| Nomor | Jenis | Aliran nominal (L/S) |
Upaya (M) |
Kekuatan (kW) |
Kecepatan (putaran/menit) |
Kaliber (mm) |
Tekanan kerja maksimum (≤Mpa) |
150% dari tekanan aliran nominal (≥Mpa) |
| 186 | PERANGKAT XBD4.0/60GJ | 60 | 40 | 37 | 3000 | 150 | 0.560 | 0.260 |
| 187 | XBD5.0/60GJ-SEAD | 60 | 50 | 45 | 3000 | 150 | 0.700 | 0.325 |
| 188 | XBD6.0/60GJ-SEAD | 60 | 60 | 55 | 3000 | 150 | 0.840 | 0.390 |
| 189 | XBD7.0/60GJ-SEAD | 60 | 70 | 75 | 3000 | 150 | 0.980 | 0.455 |
| 190 | PERANGKAT XBD8.0/60GJ | 60 | 80 | 75 | 3000 | 150 | 1.120 | 0.520 |
| 191 | XBD9.0/60GJ-SEAD | 60 | 90 | 90 | 3000 | 150 | 1.260 | 0.585 |
| 192 | PERANGKAT XBD10.0/60GJ | 60 | 100 | 90 | 3000 | 150 | 1.400 | 0.650 |
| 193 | PERANGKAT XBD12.0/60GJ | 60 | 120 | 110 | 3000 | 150 | 1.680 | 0.780 |
| 194 | XBD14.0/60GJ-SEAD | 60 | 140 | 131 | 3000 | 150 | 1.960 | 0.910 |
| 195 | PERANGKAT XBD16.0/60GJ | 60 | 160 | 160 | 3000 | 150 | 2.240 | 1.040 |
| 196 | XBD18.0/60GJ-SEAD | 60 | 180 | 160 | 3000 | 150 | 2.520 | 1.170 |
| 197 | PERANGKAT XBD20.0/60GJ | 60 | 200 | 200 | 3000 | 150 | 2.800 | 1.300 |
| 198 | XBD3.0/70GJ-SEAD | 70 | 30 | 37 | 3000 | 150 | 0.420 | 0.195 |
| 199 | XBD4.0/70GJ-SEAD | 70 | 40 | 45 | 3000 | 150 | 0.560 | 0.260 |
| 200 | XBD5.0/70GJ-SEAD | 70 | 50 | 55 | 3000 | 150 | 0.700 | 0.325 |
| 201 | XBD6.0/70GJ-SEAD | 70 | 60 | 75 | 3000 | 150 | 0.840 | 0.390 |
| 202 | XBD7.2/70GJ-SEAD | 70 | 72 | 90 | 3000 | 150 | 1.008 | 0.468 |
| 203 | XBD8.2/70GJ-SEAD | 70 | 82 | 110 | 3000 | 150 | 1.148 | 0.533 |
| 204 | XBD9.0/70GJ-SEAD | 70 | 90 | 110 | 3000 | 150 | 1.260 | 0.585 |
| 205 | XBD10.0/70GJ-SEAD | 70 | 100 | 132 | 3000 | 150 | 1.400 | 0.650 |
| 206 | XBD13.0/70GJ-LAUT | 70 | 130 | 160 | 3000 | 150 | 1.820 | 0.845 |
| 207 | XBD15.0/70GJ-LAUT | 70 | 150 | 200 | 3000 | 150 | 2.100 | 0.975 |
| 208 | XBD3.0/80GJ-SEAD | 80 | 30 | 37 | 3000 | 150 | 0.420 | 0.195 |
| 209 | PERANGKAT XBD4.0/80GJ | 80 | 40 | 45 | 3000 | 150 | 0.560 | 0.260 |
| 210 | XBD5.0/80GJ-SEAD | 80 | 50 | 55 | 3000 | 150 | 0.700 | 0.325 |
| 211 | XBD6.0/80GJ-SEAD | 80 | 60 | 75 | 3000 | 150 | 0.840 | 0.390 |
| 212 | XBD7.2/80GJ-SEAD | 80 | 72 | 90 | 3000 | 150 | 1.008 | 0.468 |
| 213 | XBD8.2/80GJ-SEAD | 80 | 82 | 110 | 3000 | 150 | 1.148 | 0.533 |
| 214 | PERANGKAT XBD9.0/80GJ | 80 | 90 | 110 | 3000 | 150 | 1.260 | 0.585 |
| 215 | PERANGKAT XBD10.0/80GJ | 80 | 100 | 132 | 3000 | 150 | 1.400 | 0.650 |
| 216 | PERANGKAT XBD13.0/80GJ | 80 | 130 | 160 | 3000 | 150 | 1.820 | 0.845 |
| 217 | PERANGKAT XBD15.0/80GJ | 80 | 150 | 200 | 3000 | 150 | 2.100 | 0.975 |
| 218 | XBD3.0/90GJ-SEAD | 90 | 30 | 55 | 3000 | 200 | 0.420 | 0.195 |
| 219 | PERANGKAT XBD4.0/90GJ | 90 | 40 | 75 | 3000 | 200 | 0.560 | 0.260 |
| 220 | XBD5.0/90GJ-LAUT | 90 | 50 | 75 | 3000 | 200 | 0.700 | 0.325 |
| 221 | PERANGKAT XBD6.0/90GJ | 90 | 60 | 90 | 3000 | 200 | 0.840 | 0.390 |
| 222 | XBD7.0/90GJ-LAUT | 90 | 70 | 110 | 3000 | 200 | 0.980 | 0.455 |
| Nomor | Jenis | Aliran nominal (L/S) |
Upaya (M) |
Kekuatan (kW) |
Kecepatan (putaran/menit) |
Kaliber (mm) |
Tekanan kerja maksimum (≤Mpa) |
150% dari tekanan aliran nominal (≥Mpa) |
| 223 | XBD8.0/90GJ-SEAD | 90 | 80 | 110 | 3000 | 200 | 1.120 | 0.520 |
| 224 | XBD9.0/90GJ-SEAD | 90 | 90 | 132 | 3000 | 200 | 1.260 | 0.585 |
| 225 | PERANGKAT XBD10.2/90GJ | 90 | 102 | 160 | 3000 | 200 | 1.428 | 0.663 |
| 226 | PERANGKAT XBD12.0/90GJ | 90 | 120 | 200 | 3000 | 200 | 1.680 | 0.780 |
| 227 | XBD3.0/100GJ-SEAD | 100 | 30 | 55 | 3000 | 200 | 0.420 | 0.195 |
| 228 | XBD4.0/100GJ-SEAD | 100 | 40 | 75 | 3000 | 200 | 0.560 | 0.280 |
| 229 | XBD5.0/100GJ-SEAD | 100 | 50 | 75 | 3000 | 200 | 0.700 | 0.325 |
| 230 | XBD6.0/100GJ-SEAD | 100 | 60 | 90 | 3000 | 200 | 0.840 | 0.390 |
| 231 | XBD7.0/100GJ-LAUT | 100 | 70 | 110 | 3000 | 200 | 0.980 | 0.455 |
| 232 | PERANGKAT XBD8.0/100GJ | 100 | 80 | 132 | 3000 | 200 | 1.120 | 0.520 |
| 233 | PERANGKAT XBD9.0/100GJ | 100 | 90 | 160 | 3000 | 200 | 1.260 | 0.585 |
| 234 | PERANGKAT XBD9.8/100GJ | 100 | 98 | 200 | 3000 | 200 | 1.372 | 0.637 |
| 235 | XBD3.0/110GJ-LAUT | 100 | 30 | 55 | 3000 | 200 | 0.420 | 0.195 |
| 236 | XBD4.0/110GJ-LAUT | 110 | 40 | 75 | 3000 | 200 | 0.560 | 0.260 |
| 237 | XBD5.0/110GJ-LAUT | 110 | 50 | 90 | 3000 | 200 | 0.700 | 0.325 |
| 238 | XBD6.0/110GJ-LAUT | 110 | 60 | 110 | 3000 | 200 | 0.840 | 0.390 |
| 239 | XBD7.0/110GJ-SEAD | 110 | 70 | 132 | 3000 | 200 | 0.980 | 0.455 |
| 240 | XBD8.0/110GJ-LAUT | 110 | 80 | 160 | 3000 | 200 | 1.120 | 0.520 |
| 241 | XBD9.0/110GJ-LAUT | 110 | 90 | 160 | 3000 | 200 | 1.260 | 0.585 |
| 242 | XBD10.0/110GJ-SEAD | 110 | 100 | 200 | 3000 | 200 | 1.400 | 0.650 |
| № | UKURAN PEMASANGAN | SUDUT | ПОДВАЛ | ||||||||||||||
| H | A | E | L1 | L2 | B | C | 4-Φd1 | D | D1 | hari | n-Φd | C1 | B1 | B2 | T | 4-d2 | |
| 1-5L/S | Airnya dalam | 110 | Φ220 | 225 | 175 | 275 | 350 | 4-Φ22 | 165 | 125 | 50 | 4-Φ18 | 600 | 275 | f280 | 300 | 4-Φ50 |
| 10-15L/S | Airnya dalam | 125 | Φ260 | 260 | 200 | 280 | 400 | 4-Φ22 | 200 | 160 | 80 | 4-Φ18 | 600 | 280 | Φ280 | 300 | 4-Φ50 |
| 20-15L/dtk | Airnya dalam | 125 | f260 | 260 | 200 | 280 | 400 | 4-Φ22 | 220 | 180 | 100 | 8-Φ18 | 600 | 280 | Φ280 | 300 | 4-Φ50 |
| 40-80L/S | Airnya dalam | 180 | φ305 | 310 | 223 | 310 | 450 | 4-Φ22 | 285 | 240 | 150 | 8-Φ22 | 700 | 310 | Φ310 | 300 | 4-Φ50 |
| 90-110L/S | Airnya dalam | 250 | F305 | 380 | 255 | 360 | 510 | 4-Φ22 | 340 | 295 | 200 | 12-Φ22 | 800 | 360 | Φ330 | 300 | 4-Φ50 |